-
2016年中國泵及相關裝置進出口數量及金額統計回顧
2016/12/23 10:24:36 來源:中國產業發展研究網 【字體:大 中 小】【收藏本頁】【打印】【關閉】
核心提示:根據海關統計口徑:目前海關系統針對泵產品的進出口貿易統計,納入專項統計“液體泵,不論是否裝有計量裝置;液體提升機”和“空氣泵或真空泵、空氣及其他氣體壓縮機、風機、風扇; 裝有風扇的通風罩或循環氣罩,不論是根據海關統計口徑:目前海關系統針對泵產品的進出口貿易統計,納入專項統計“液體泵,不論是否裝有計量裝置;液體提升機”和“空氣泵或真空泵、空氣及其他氣體壓縮機、風機、風扇; 裝有風扇的通風罩或循環氣罩,不論是否裝有過濾器”海關代碼分別為“8413”、“8414”。
中經先略數據中心發布的《2016-2022年中國泵市場競爭現狀及未來發展趨勢報告》顯示,近年我國泵及相關裝置進口數量呈波動增長趨勢,2009-2015年我國泵及相關裝置進口數量分析如下:
2009-2015年泵及相關裝置進出口數量及金額
年份出口(臺,千美元)進口(臺,千美元)數量金額數量金額2009年995159063748224126760979166447112010年14862057521003701033808274179303472011年17816875481242492135229669189036122012年21190684061353384631426260478348522013年25441435721514223135384978485904662014年30764588461674173836543700587447322015年3117430741168341263598411248700159資料來源:中國海關
根據中國海關數據顯示,2015年我國泵進口主要國家及地區分析如下:
2015年我國液體泵等進口主要國家及地區分析(8413)

資料來源:中國海關
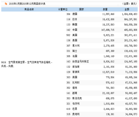
2015年我國空氣泵等進口主要國家及地區分析(8414)

資料來源:中國海關
根據中國海關數據顯示,2015年我國泵出口主要國家及地區分析如下:
2015年我國液體泵等出口主要國家及地區分析(8413)

資料來源:中國海關
鄭重聲明:本文版權歸原作者所有,轉載文章僅為傳播更多信息之目的,如有侵權行為,請第一時間聯系我們修改或刪除,郵箱:cidr@chinaidr.com。


