-
解決停車難問題 現代研發可折疊城市車
2016/2/22 8:39:41 來源:中國產業發展研究網 【字體:大 中 小】【收藏本頁】【打印】【關閉】
核心提示: 近日有外媒報道,現代汽車正在研發一款可折疊的城市用車,并且已經在美國專利與商標局取得了相關的專利。現代可折疊城市用車設計草圖前擋風玻璃向內折疊效果后艙蓋向內折近日有外媒報道,現代汽車正在研發一款可折疊的城市用車,并且已經在美國專利與商標局取得了相關的專利。

現代可折疊城市用車設計草圖

前擋風玻璃向內折疊效果

后艙蓋向內折疊效果

折疊完成示意圖
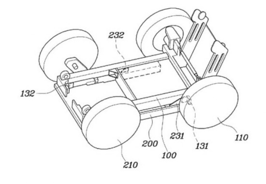
根據消息描述,現代研發的這款城市折疊車的前輪通過滑軌與車輛底盤鏈接,而后輪則通過一種折疊機構與底盤鏈接。另外,車輛的前擋風玻璃與車輛后艙蓋相互獨立,前擋風玻璃通過鉸鏈可收入車內,后艙蓋在擋風玻璃收入后,可向前折疊,當車輛需要折疊時,車輪、擋風玻璃及后艙蓋依次進行折疊、滑動,進而達到縮小車輛體積的目的。

前、后車輪折疊機構示意圖

前、后車輪折疊機構示意圖
可折疊汽車的理念雖然不是第一次被提出,但我們不得不佩服現代可折疊車設計師的創意。面對當前越來越擁擠的的城市,停車位難找的問題甚至比堵車問題更讓人頭疼,面對這些,可折疊汽車似乎是一個看起來還不錯的選擇。關于可折疊汽車的更多消息,我們還將持續關注。
(消息來源:worldcarfans;文/汽車之家包津鋮)
鄭重聲明:本文版權歸原作者所有,轉載文章僅為傳播更多信息之目的,如有侵權行為,請第一時間聯系我們修改或刪除,郵箱:cidr@chinaidr.com。


